POCETNA STRANA

Seminarski i Diplomski Rad
 
SEMINARSKI RAD IZ ELEKTRONIKE
OSTALI SEMINARSKI RADOVI IZ ELEKTRONIKE / ELEKTROTEHNIKE
Diode-seminarski rad
Primenjena elektronika-seminarski rad
 

 

 

 

 

 

 

 

 
 
DIREKTNO UBRIZGAVANJE GORIVA

 

            Frederik Vilijam Lančester je počeo da radi u Forward Gas Engine Company u Birmingenu u Engleskoj 1889. godine. On je izneo činjenice šta je sve bilo moguće u najranijim eksperimentima sa direktnim ubrizgavanjem.

          Sve do drugog svetskog rata direktno uvrizgavanje postojelo je samo za dizel motore. Tokom rata nemački inžinjeri su pokušavali da primene način direktnog ubrizgavanja na avionske metore, čime bi se rešio problem ispravnog funkcionisanja karburatora na ekstremnim g vrednostima, orijentaciji u prostoru i niskim temperaturama. Može se slobodeno reći da je sistem direktnog ubrizgavanja praktično zaživeo na motorima Daimler-Bentz DB 603 i BMW 801.

Daimler-Bentz DB 603L

Daimler-Bentz DB 603L

 

          Jedan od prvih komercijalnih benzinskih sistema sa direktnim ubrizgavanjem je mehanički sistem koji je razvio Boš (Bosch) i predstavio ga 1955. godine u modelu Mercedes-Benz 300SL. Ševrolet je 1957. godine predstavio opciju mehaničkog direktnog ubrizgavanja koji je napravio General Motors -odeljenje Ročester proizvoda za svoj 283 V8 motor.

Rocester 283 V8 


  Ročester 283 V8

Mercedes-Benty 300SL

 

  Mercedes-Benty 300SL

 

          Šezdesetih godina ostali mehanički sistemi direktnog ubrizgavanja kao što je Hilborn koristili su povremeno modifikovane američke V8 motore u različitim trkačkim varijacijama.

          Ovi sistemi nisu bili pogodni za svakodnevnu uličnu upotrebu, nisu opremljeni za merenje malih brzina ili čak startovanje motora.


            Jedan od prvih sistema elektronskog direktnog ubrizgavanja je bio Elektroprojekt koga je razvila Bendiks Korporacija. AMC je 1957 godine nudila specijalno izdanje Rambler Rebel sa 288 konjskih snaga (5,4 l) motorom koga je opremio Elektroprojektor. Patenti Elektroprojektora su kasnije prodani Bošu.

          Direktno ubrizgavanje goriva je način merenja goriva u motoru sa unutrašnjim sagorevanjem.

U modernoj automobilskoj primeni merenje goriva je jedno od nekoliko funkcija koje se izvode u „motornom upravljačkom sistemu“.

Sistem direktnog ubrizgavanja je dizajniran i posebno podešen za tipove goriva kao što su: benzin, autogas (plin tj. propan), etanol, metanol, metan, vodonik ili dizel. Sa pojavom elektronskog direktnog ubrizgavanja oprema za dizel i benzinske motore postala je slična.

  Primarna funkcijonalna razlika između karburatora i direktnog ubrizgavanja je da direktno ubrizgavanje raspršuje gorivo preko pumpe sa visokim pritiskom kroz brizgaljku, dok se karburator oslanja na vakum ubrizgavanje vazduha i dodavanjem goriva kroz vazduh.

 

  DIREKTNO UBRIZGAVANJE

Direktno ubrizgavanje

        Tajna ekonomičnosti leži u sposobnosti formiranja slojevitog punjenja u trnucima kada se od motora ne zahteva maksimum. Na taj način, benzinci imitiraju način rada dizelaša i primetno smanjuju potrošnju. U momentu kada se od njih zahteva razvoj pune snage oni su sposobni da se vrate na svoj teren i vozaču pruže maksimum. Za pripremu smeše benzina i vazduha umest karburatora koristi se i sistem za ubrizgavanje benzina u usisnu granu, i to na usisne ventile svakog cilindra. Ovakav način pripreme smeše ima niz prednosti: veću snagu, bolji i ekonomičniji rad motora u svim režimima rada, manje opasnih komponenata u izduvnim gasovima i drugo.

          U novije vreme razvijen je  i koristi se čitav niz ovih uređaja, odnosno sistema kod kojih se podešavanje u toku rada obavlja mehanički ili pomoću elektronike.

Firma Bosch je razvila sisteme

  • K-džetronik
  • KE-džetronik

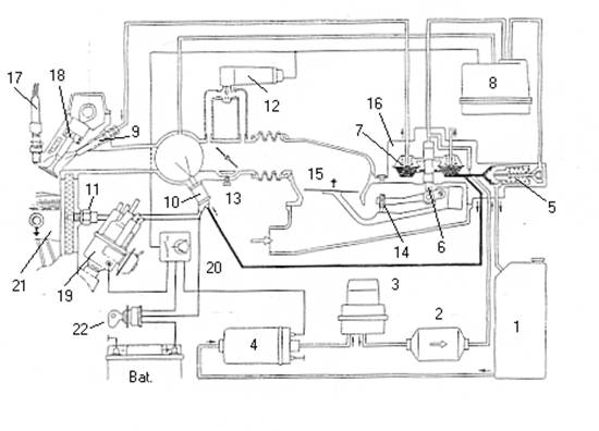
          K-džetronik -Kod ovog sistema vazduh koji se usisava prolazi kroz merač usisne količine vazduha, a zatim preko leptira i usisne grane do cilindra. Sa druge strane, pumpa sa elektičnim pogonom usisava benzin iz rezervoara i pod pritiskom (od oko 4,8 bara) šalje kroz akumulator pritiska i fini prečistač do raspodeljivača.

U raspodeljivaču se nalazi regulator pritiska koji održava pritisak u sistemu konstantnim obezbeđujući da se višak benzina vraća u rezervoar. Benzin iz raspodeljivača (pod pritiskom od 3,3 bara) dolazi do brizgaljke koje neprekidno ubrizgavaju gorivo u usisne ventile svakog cilindra. Međutim, protok kroz brizgaljke nije konstantan, nego zavisi od količine usisnog vazduha, jer protokom u raspodeljivaču upravlja signal merača količine vazduha: što je količina usisnog vazduha veća  – veća je i količina benzina koja se ubrizgava i obratno. Kako je već rečeno: kada je motor hladan potrebna je bogatija smeša, a sa zagrvanjem motora smeša trba da postaje siromašnija. Za ovo služi temperaturski regulator koji po pokretanju motora postepeno povećava upravljački pritisak čime se postepeno smanjuje bogatstvo smeše. U ovaj regulator uključen je i obogaćivač smeše pri punom opterećenju. Kada je motor hladan postoje veći otpori trenja, pa dok se motor ne greje, pri radu na praznom hodu, trebalo bi povećavati količinu smeše. Ovo obezbeđuje dodatni šiber za vazduh koji se nalazi u cevi paralelno postavljenoj sa cevi u kojoj je leptir , čime se „premošćuje” leptir. Kod hladnog motora šiber je otvoren, a sa zagrvanjem postepeno se zatvara.

K-džetronik
            Za pokrtanje hladnog motora u ovom sistemu postoji dodatni ventil -brizgač u glavnoj usisnoj grani. To je elektromagnetni ventil kojim upravlja termovremenski prekidač, koji meri temperaturu rashladne tečnosti i čim se motor zagreje prekida kolo struje, usled čega ventil prestaje da ubrizgava dodatnu količinu goriva. Sistem se aktivira kontakt-ključem i pomoću releja. Po prestanku rada motora prekida se dovod struje do elektro motora pumpe za gorivo. Kod ovog sistema postoje dva vijka za podešavanje: vijak za podešavanje broja obrtaja na praznom hodu i vijak u regulatoru mešavine za podešavanje mešavine pri normalnom radu motora.

     KE-džetronik-Ovaj  sistem je nastao daljim razvijanjem sistema k-džetronik i to na taj način što su mu dodati senzori i drugi elektronski uređaji, čime je postignut optimalan rad motora . U odnosu na k-džetronik ovaj sistem pored prikazanih ima još i sledeće uređaje:

  • Prekidač
  • Položaj leptira
  • Potenciometar u regulatoru smeše
  • Merač temperature motora
  • Elektrohidraulični regulator pritiska
  • Lambda-sondu
  • Elektronski upravljački uređaj
  • Upravljački relej

Signali od svih naznačenih senzora i signal broja obrtaja dolaze u elektronski upravljački uređaj gde se obrađuju, a na osnovu tako utvrđenog trenutnog režima rada motora, upravljački sistem se vodi do elektrohidrauličnog upravljačkog uređaja koji dodatno menja količinu goriva koje se ubrizgava i to promenom pritiska u sistemu za napajanje benzinom.

KE-džetronik

 

Lambda-sonda
LAMBDA-SONDA se postavlja u izduvnu granu i šalje signal o trnutnom odnosu benzina i vazduha u mešavini koja se usisava. Lambda-sonda omogućuje da se uvođenjem katalizator u izduvni sistem smanji količina štetnih (otrovnih) komponenata u izduvnim gasovima (ugljen-monoksid, nesagoreli ugljovodonici i oksidi azota)

 

         Motori sa direktnim ubrizgavanjem često proizvode više snage nego isti motori sa karburatorom. Direktno ubrizgavanje goriva znači samo po sebi neophodno povećanje potencijalnog maksimuma motora izlazne snage. Potreban je povećan dotok vazduha da sagori više goriva da bi stvorio više toplote, i da bi to stvorilo veću izlaznu snagu. Direktno ubrizgavanje nudi homogeniju mešavinu vazduh/gorivo u cilju bolje atomizacije goriva koje ulazi u cilindar.

          Iako sam po sebi donosi bitne prednosti nad motorima konvencionalne gradnje, nov koncept poseduje i ogroman potencijal povećanja specifične snage, te dodatnog smanjenja potrošnje.

          Naime, direktno ubrizgavanje umanjuje problem koji klasične oto -motore udaljuje od prehranjivanja. Pošto se kod motora sa direktnim ubrizgavanjem pri parcijalnim opterećenjima sabija samo vazduh, nema opasnosti od detonacija koja stvara glavobolju konstruktorima klasičnih benzinskih motora. Vrata široke primene prehranjivanja su ovim otvorena i izbor tipa punjača se postavio kao prvo pitanje koje čeka na odgovor  –  da li primeniti mehanički ili turbinski punjač?

 

          Ideja direktnog ubrizgavanja je stara preko sto godina. Ali, tek sa pojavom elektronske kontrole i računarskog upravljanja ovaj sistem je doživeo svoju široku primenu na automobilima. Ušteda goriva, smanjenje emisije štetnih gasova, smanjenje habanja delova motora i njihova manje temperaturna opterećenost uz povećanje snage za istu zapreminu motora, mirniji, sugurniji rad i bolja kontrola, stavlja sistem direktnog ubrizgavanja goriva kao imperativ budućeg projektovanja motora.

         

Izvori: http://en.wikipedia.org/wiki/Fuel_injection

Besplatni Seminarski Radovi