POCETNA STRANA

Seminarski i Diplomski Rad
 
SEMINARSKI RAD IZ FIZIKE
 

ФОТОЕЛЕКТРИЧНИ ЕФЕКАТ

Фотоелектрични ефекат је емисија електрона из метала под дејством светлости. Открио га је сасвим случајно Хајнрих Рудолф Херц (Heinrich Rudolph Hertz) 1887. године. Пре Алберта Ајнштајна (Albert Einstein) физичаре је бунило то што више светлости избија више електрона али им не мења енергију. На енергију електрона утиче боја (таласна дужина) а не интензитет светлости. Ајнштајн је све недоумице решио 1905. године препоставком да је светлост честице природе тј да се светлост простире у квантима који су касније названи фотони. Више фотона избацује више електрона, али енергија избачени електрона може да порасте само ако порасте енергија фотона. Та Ајнштајнова претпоставка била је тада толико радикална да јој је се супроставио и сам Планк који је био зачетник квантне теорије.[1]
Ово је било само да се мало да знамо од прилике шта је фотолектрични ефекат, а сада ће мо помоћу слика и примера објаснити појаву фотоелектричног ефекта, понашање апарата који се користе, као и целу суштину фотоелектричног ефекта.

ИСТОРИЈСКИ РАЗВОЈ И КАРАКТЕРИСТИКЕ

Историјски развој фотоелектрицног ефекта

Хајнрих Рудолф Херц (Heinrich Rudolph Hertz) је 1887. године приметио да варично пражњење између цинкани куглица постаје интензивније уколико се једна од њих осветли ултраљубичастим зрачењем. Испоставило се да је суштина ове појаве названа фотоефектом, удаљавање електрона са површине метала под дејством УВ зрачења (сл.2.1.1)

Fotoefekat
сл. 2.1.1 Фотоефекат под УВ зрацима

Детаљну методику за испитивање ове појаве дао је руски физичар Александар Григориевич Столетов (Алекса́ндр Григо́рьевич Столе́тов). Његова апаратура састојала се од две електроде, односно катоде, израђена од испитиваног материјала , и аноде које се налазе у вакумној цеви и прикључене су на батерију , тако да се потенциометром може мењати не само вредност него и знак напона у који се доводи. Када се катода осветли монохромност светлошћу са ње се избијају електрони, кој исе затим одржавањем напона убрзавају до аноде. Јавља се фотоелектрична струја која се мери милимпреметром (сл.2.1.2) . Осветљавајући катоду светлошћу различити таласни дужина Столетов је утврдио следеће закономерности: [2]

  1. Да најефективније деловање има УВ зрачење.
  2. Да под дејством светлости материјал гби само негативна наелетрисања (1897, године Томсон је измерио специфично негативно наелектрисање, наелектрисање честице, која је 1903. године названа електрон)
  3. Да је јачина струје која се јавља услед осветљавања катоде директно пропорционална интензитету упадне светлости.

Stoletova amplituda za ispitivanje
сл.2.1.2  Столетова амплитуда за испитивање

Карактеристике

На основу изучавања зависности фотострује и образоване електронима емитованим са катоде под дејством светлости, од напона између електрода, различити материјала у вакуму, за различите фрекфренције упадног зрачења утврђена су три основна закона спољашњег фотоефекта: [2]

  1. Столетов закон: при фиксној вредности  фрекфренције упадне светлости, број фотоелектрона, истргнути у јединици времена, пропорционална је интензитету светлости (јачина фотострује засићенја пропорционална је енергетској осветљености  катоде)
  2. Максимална почетна брзина (максимална кинетчка енергија) фотоелектрона не зависи од интензитета упадне светлости , већ одређена једном фрекфренцијом,
  3. За сваки материјал постоји црвена граница фотоефекта, тј. минимална фрекфренција светлости (која зависи од хемијске природе материјала и стања његове површине) испод које је фотоефекат немогућ.

Stoletova Amplituda za ispitivanje pod dejstvom svetlosti
Сл.2.2.1 Столетова амплитуда за испитивање под дејством светлости

 

ФОТОЕЛЕКТРИЧНИ ЕФЕКАТ

Таласна теорија светлости имала је још један проблем, а то је објашњење фотоелектричног ефекта или краће фотоефекта. Фотоефекат је појава да светлост која упада на површину метала избацује проводне електроне са површине у околни простор. Опит показује да је енегрија избачени електрона пропорционална учесталости, а не интензитету светлости. Више од тога постојипраг фотоефекта. Таласна теорија је била немогућа да ово објасни. Али погледајмо деталје ове приче (сл.3.1, сл.3.2)
Shema fotoelektricnog efekta  Fotoelektricni efekat
  сл. 3.1 Шема фотоелектричног ефекта                 сл.3.2 Фотоелектрични ефекат

Кад се емисија површина, емитер, објасја светлошћу, тада настају фотоелектрони. Њих привлачи позитивни напон колектора, па се јавља струја у колу које мери амперметар (сл.3.3). При довољно великим позитивним напонима настаје засићење струје. Струја престаје при великом негативном напону .

Fotoelektricna struja
Сл.3.3 Фотоелектична струја у функцији датог напона са две струје

Овај зауставни напон онемогућава и оне најбрже фотоелектроне да стигну на колектор, опит показује да зауставни напон не зависи од интензитета светлости, мора бити у скалду са законом одржавања енергије:
  (3.1)
Јединствено и консекветно објашњење дао је Алберт Ајнштајн (Albert Einstein) 1905. године. Упадна светлост се мора сватити као рој светлостни честица које зовемо фотони. Енергија фотона иноси, према Планковој хипотези из 1900. године
  (3.2)
Овде је   Планкова константа, а учесталост примењене светлости. При интеракцији у материјалу, један фотон предаје сву своју енергију једном електрону. Ако овај електрон напушта површину не губећи примљену енергију на друге сударе, биће по закону одржања енергије
  (3.3)
Ово је знаменити Ајнштајнов закон фотоефекта.
Овде је   излазни рад електрона на дату површину. То је минималнаенергија којом је електрон везан у металу. Помоћу фотонске теорије успешно објашњавамо особине које се је мгу разумети на класичан начин: [3]

  1. Ефекат постоји за
  2. Очито,  не зависи од броја фотона, већ само од   и
  3.  расте кад расте учесталост.
  4. У честичној слици је нормално да се фотоелектрони јављају веома брзо.

Експерименти показују да је киметичка енергија фотоелектрона линеарна функција учесталости; учесталост мора бити већа од учесталости прага ефекта (сл.3.4).

Zavisnost maksimalne kineticke energije
Сл.3.4 Скица зависности максималне кинетичке енергије
фотоелектрона од фрекренције

Ово је потпуно у складу са Ајнштајновим законом фотоефекта. Нагиб праве линије даје планкову константу. Иди се смисао уцесталости прага. Може се наћи на излазни ред електрона за дату површину.
Таласну дужину која одговара учесталости прага зовемо црвена граница фотоефекта
   (3.4)
Поновимо: овде је брзина светлости у вакуму. Мерења заиста дају за Планкову константу . [3]
Prikaz odnosa energije i frekvencije

 

 

 

 

 

График 3.1. Приказ односа енергије и фреквенције

 

 

АЈНШТАЈНОВА ЈЕДНАЧИНА СПОЊАШЊЕГ ФОТОЕЛЕКТРИЧНОГ ЕФЕКТА

Алберт Ајнштајн је препоставио да се светлосни талас састоји од великог броја кваната који су тек 1926. године добили име фотони(сл.4.1). Сагласност Ајнштајну светлост фрекфренције V не само да се испушта у појединачним пропорцијама – квантима, како је то већ раније поставио Планк, већ се и простире у пространству и апсорбује супстанцом у појединачним квантима чија је енергија . На тај начин се простирање светлости треба разматрати не као неприкидан таласни процес, него као протокол локалиѕовани у простору дискретих светлосни кваната, који се крећу брзином простирања светлости у вакуму. [1]

Shematski prikaz elektrona
Сл.4.1 Шематски приказ електрона

Енергетски биланс при фотоефекту може се изразити као:
                                                                                                                   .  (4.1)
За метале претходне једначине има облик:
                                                                                                                   (4.2)
На основу претходне релације, минимална вредност фрекфренције  упадног угла таласа, при којој мозе доћи до фотоефекта, иноси:
                                                                                                                           (4.3)

По Ајнштајну, код светлости, енергија остаје расподељена у блоковима чија је енергија hν. Један такав блок је светлосни квант, или фотон. Да би електрон напустио метал мора да располаже најмање оном количином енергије колико износи излазни рад Аi за тај метал и неке метале имамомо озлазне радове у табели 3.1. Ако је од фотона примљена енергија мања од излазног рада електрон не може да напусти метал и фотоефекат се не јавља.

Објашњење фотоефекта је крајње једноставно при апсорцији, фотон предаје енергију електрону, и ако је ова енергија довољно велика да електрон раскине везе која га дрзе у металу, он из њега излази. Како је могуће да електрон прими енергију од два фонтона занемарљиво мала, сваки ослобођен електрон примио је енергију од једног фотона. За број ослобођени електрона треба да буде пропорционалан броју апсорбовани, фотона, односно пропорционалан интензитету  упадног таласа. Али, како енергија електрона који излеће  од енергије само једног елекрона следи да енергија фотоелектрона треба да показује линеарна од фрекфренције таласа, а да уопште не зависи од интензитета таласа, у табели су приказани метали и излазни рад.

Ред.бр.

Метал

Излазни рад (ev)

1

Li

2.4

2

Na

2.1

3

K

2.0

4

Cs

0.7

5

W

4.5

6

Pd

5.0

7

Pt

6.3

Табела 3.1. Преглед метала и вредности излазног рада за сваки метал

До фотоефекта долази када фотон интерагује са електронима у атому неке супстанце тако што се ова енергија фотона предаје једном електрону. Ова енергија се распоређује на енергију јонизације атома  и излазни рад електрона из тела  док остатак прелази у кинетичку енергију фотоелектрона
                                                                                    .   (4.4)
                                                                                               (4.5)

Стање површине метала битно утиче на величину излазног рада што је и очигледно приказано у табели 3.2 и графику 3.1:

Супстанца

Na

590

K

640

Cs

780

Ag

220

Au

210

Mg

380

Al

360

Fe

230

Pt

205

Si

250

Табела 3.2 Граничне таласне дужине за различите фотокатоде    

Granicne talasne duzine za razlicite fotokamode
График 3.1 Граничне таласне дужине за различите фотокатоде    

 

АПАРАТИ ЗА ПРУЧАВАЊЕ ФОТОЕЛЕКТРИЧНОГ ЕФЕКТА

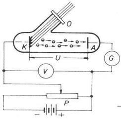
За проучавање фотоефекта користи се Столетова апаратура приказана на слици 5.1 састоји се из стаклене цеви из које је извучен ваздух и у коју су затопљене две електроде и на њих је прикључен једносмерни електрични напон. Катода К је везана за негативан, а анода за позитиван пол извора. На катоду је нанесен танак слој метала чији се фотоефекат испитује. Напон се може мењати потенциометром P а мери се волтметром V. Протицање ел.струје се констатује галванометром G [2]

Aparati za proucavanje fotoelektricnog efekta  Опыт Столетова
Сл.5.1 Апарати за пручавање фотоелектричног ефекта

Светлост се доводи у суд кроз кварцни отвор О, који је прозрачан и видљив и за ултраљубичасто зрачење. При осветљену катоде , са њене површине се емитују електрони. Они се под утицајем електричног поља крећу ка аноди и у пољу се успоставља електрична струја. Јачина струје зависи од броја емитованих електрона са катоде, али и од вредности напона на електродама.
При сталном интезитету светлости са порастом напона U, јачина струје се мења као на графику 5.1. Почевши од неког напона US, јачина струје достиже максималну вредност која се назива струја засићења –сатурација, после које остаје стална. За сталан интезитет светлости, максимум се јавља кад сви електрони емитовани са катоде стигну на аноду.
Intenzitet struje

График 5.1 Интезитет струје у функцији од напона
Интезитет струје је једнак нули тек када се на аноду стави негативан напон, напон заустављања Ucn. При смањењу негативног и повећањз позитивног напона интезитет струје кроз цев расте само до једне границе односно до струје засићења.
Да би електрон напустио површину метала потребна му је минимална енергија за напуштање   . Енергија једног фотона   , где је   Планкова константа а   је фреквенција фотона. Да би електрон напустио површину метала потребна ми је значи енергија већа од минималне енргије , коју фотон добија након што напусти површину метала је :
  (5.1)
Ленард је 1902 год. дошао до експерименталмих резултата који су одиграли одлучујућу улогу у развоју схватања пририде светлости.Ови резултати могу се могу приказати као три важна става:

  1. Максимална кинетичка енергија електрона које ослобађа светлост из метала независна је од интезитета светлости и зависи само од таласне дужине светлости.
  1. Кинетичка енергија фотоелектрона је пропорционална фреквенцији светлости коју изазива
  1. Фотоелектрични ефекат почиње тек када таласна дужина употребљене светлости буде мања од једне одрђене таласне дужине, која се назива гранична таласна дужина
  2. Фотоефекат наступа увек у немерљиво кратком времену после почетка дејства светлости и важи израз

  (5.2)
Zavisnost energije od frekvencije svetlosti
График 5.2 Зависности енергије од фреквенције светлости за различите метале

ПРИМЕНА ФОТОЕЛЕКТРИЧНОГ ЕФЕКТА

Примена фотоефекта заснива се на коришћењу фотоћелија. Некада су фотоћелије биле вакумске цеви, савремени фотоелементи реагују не само на видљиву светлост већ и на инфрацрвене зраке.Фотоћелија обично служи за превођење промене светлосног флукса у промене интезитета електричне струје. [1]
Обично фотоћелија служи за превођење промене светлосног флукса у промене интезитета електричне струје, и може да се да се врши на два начина:

  1. Да електрон прими довољно енергије могу да излете из тела у спољашњи простор, и то се зове спољашњи фотоелектрични ефекат
  2. Да је примљена енергија недовољна да електрон напусти тело, али та енергија екситује електроне, и то се зове унутрашњи фотоелектрични ефекат.

СПОЉАШЊИ ФОТОЕЛЕКТРИЧНИ ЕФЕКАТ

Спољашњим фотоефектом названа је појава испуштања (удвајања) негативног наелектрисања (конкретно електрона) са површине материјала који је изложен дејству електромагнетног зрачења. Спољашњи фотоефекат се код чврстих тела (метала, полупроводника, диелектика), а такође и у гасовима на појединачним атомима и молекулима.

Примена фотоелектрични ћелија

Фотоћелије у којима се користи фотоефекат су мали судови од стакла и кварцау коме се налазе катода K од фотоосетљивог материјала и анода A (метална жица или прстен). Зид суда се гради од подесне врсте стакла које добро пропушта светлост. Фотоосетљиви слој је најчешће од цезијума (Cs ). Катода је обично метална полочицаод сребра ( Ag) или антимона (Sb ). Анода А има само улогу да скупља фотоелектроне ослобођене са катоде. Обично је довољан напон од 20 V да се успостави струја засићења.
Fotoelektricna celija  [4]
Сл.6.1.1 Фотоелектрична ћелија

Примена гасни фотоелекрични ћелија

Гасне фотоћелије код којих гас повећава анодну струју ћелије ефектом ударне јонизације. Најчешће коришћена фотоћелија у последње време је фотомултипликатор. У овим ћелијама се фотоефекат повећава у интезитету помоћу секундарне емисије електрона. Као код обичне ћелије светлост пада на фотокатоду К. Ослобођени електрони бивају сада убрзани првом помоћном анодом и оно ударом о аноду А1 ослобађају већи број електрона. Њих убрзава друга помоћна анода. Напони на помоћним анодама су подешени у каскадама. У свакој каскади се повећава број електрона а затим убрзава. Овај уређај има улогу амплификатора па се назива и каскадни амплификатор.

Fotomultiplikator
Сл.6.1.2 Фотомултипликатор

УНУТРАШЊИ ФОТОЕЛЕКТРИЧНИ ЕФЕКАТ

Унутрашњи фотоефекат представља појаву да се под дејством електромагнетног зрачења долази до преласка  електрона унутар полупроводника или диелектрика, из везаних стања у слободна без њиховог излетања  ван ових материјала. Као резултат тога, концентрација носиоца струје (електрона) унутар материјала расте, сто доводи до појаве фотопроводљивости повећања електропроводљивости полупроводника или диелектрика при њиховом осветљавању, тј. до појаве електромоторне силе. [1]

Примена фотоотпорника

Фотоотпорник је отпорник чији се отпор мења под утицајем светлости која пада на њега, због т особине налази се као електронски сензор
Фотоотпорник је начињен од полупроводног материјала. Ако су фотони светлости који падају довољно високе фрекфренције (довољне енергије), даће везаним електронима довољно енергије да постану електрони у полупроводнику. Са тиме се мсањује отпор фотоотпорника под утицајем светлости (сл.6.2.1 и 6.2.2)

Tipicni fotootpornik[5]  Kontrolni sistem  [5]
сл.6.2.1 Типични фотоотпорник сл.6.2.2 Контролни систем уличне лампе са
 фотоотпорником

Примена соларни ћелија

Ако елекричну енергију добијамо директним претвором енергије сунчева зрачења тада говоримо о сунчевој фотонапонској енергији. У физици оваква претворба енергије позната је под називом фотоелектрични ефекат. Уређај у којима се одвија фотонапонска претворба енергије зову се соларне ћелије (сл.6.2.1 и 6.2.2)

Fotonaponska solarna celija[7]Korisnost fotonaponske solarne celije  [7]
Сл.6.2.1 Фотонапонска соларна ћелија сл.6.2.2 Корисност фотонапонске сларне ћелије

 

ЗАКЉУЧАК

 Из овог семинарског рада можемо закључити да откриће и објашњење фотоефекта представља прекретницу у физици и веома битан помак у разумевању одрђених појава везаних за светлост. Оба појава је нашла велику примену у науци и техници, даљим изчавањем и проучавањем тај утицај на развој науке и технике би могао повећати тај утицај. Посебно треба напоменути да је соларна ћелија један од главни продуката фотоефеката и да у нашем времену кад се тежи све већој редукцију издувних гасова и потрагом за новим видовима чисте енергије соларна ћелија може одиграти главну улогу у заштити наше планете.
Треба још рећи да је Алберту Ајнштајну 1921. године додељена Нобелову награда за физику, за објашњење фотоелектричног ефекта

ЛИТЕРАТУРА

[1]http://sr.wikipedia.org/sr-
[2] http://en.wikipedia.org/wiki/File:Alexander_stoletov.jpg
[3]Вукота Бабовић, Општа физика 2, Дрзавни универитет у Новом Пазару, департман за математичке физичке и инфотматичке науке, Нови Пазар 2009, страна 10, 11 ,12 и 13.
[4] Photoelectric effect, Physics 2000. University of Colorado, Boulder, Colorado.
[5] http://micro.magnet.fsu.edu/primer/digitalimaging/concepts/images/photomultiplier.jpg
[6]http://www.google.com/images?q=foto+otpornik&hl=en&prmd=ivns&sourc
[7]http://www.google.com/images?q=solarne+celije&hl=en&prmd=


Хајнрих Рудолф Херц (Heinrich Rudolf Hertz, 22. фебруар 1857. - 1. јануар 1894.), је немачки физичар. 1888. године експериментално доказао постојање електромагнетских таласа, утврдио да је његова брзина једнака брзини светлости (Максвелова теорија) и испитао њихова дејства.. Изучавао је дејство катодних и UV зракова, на одређен начин открио и фотоелектрични ефект, итд. Дао и значајне радове на теорији еластичности. Механику засновао на оригиналној основи. Јединица осцилације (фреквенција) добила је у његову част назив херц (Hz).

Александар Григоријевич Столетов (руски: Александр Григорьевич Столетов, 10. август 1839-мај 27, 1896) био је руски физичар, оснивач електротехнике, и професор Универзитета у Москви.Проучавао је спољашњи фотоелектрични ефекат,развијао је   квантитативне методе за проучавање истог. Открио директне пропорционалности између интензитета светлости и одговарајуће фотографије индуковане струје (Столетов закон). Уградио прве соларне ћелије засноване на спољашњем фотоелектричном ефекту и проценио време одзива од фотоелектричне струје. Открио смањење осетљивости соларне ћелије током времена

PROČITAJ / PREUZMI I DRUGE SEMINARSKE RADOVE IZ OBLASTI:
ASTRONOMIJA | BANKARSTVO I MONETARNA EKONOMIJA | BIOLOGIJA | EKONOMIJA | ELEKTRONIKA | ELEKTRONSKO POSLOVANJE | EKOLOGIJA - EKOLOŠKI MENADŽMENT | FILOZOFIJA | FINANSIJE |  FINANSIJSKA TRŽIŠTA I BERZANSKI    MENADŽMENT | FINANSIJSKI MENADŽMENT | FISKALNA EKONOMIJA | FIZIKA | GEOGRAFIJA | INFORMACIONI SISTEMI | INFORMATIKA | INTERNET - WEB | ISTORIJA | JAVNE FINANSIJE | KOMUNIKOLOGIJA - KOMUNIKACIJE | KRIMINOLOGIJA | KNJIŽEVNOST I JEZIK | LOGISTIKA | LOGOPEDIJA | LJUDSKI RESURSI | MAKROEKONOMIJA | MARKETING | MATEMATIKA | MEDICINA | MEDJUNARODNA EKONOMIJA | MENADŽMENT | MIKROEKONOMIJA | MULTIMEDIJA | ODNOSI SA JAVNOŠĆU |  OPERATIVNI I STRATEGIJSKI    MENADŽMENT | OSNOVI MENADŽMENTA | OSNOVI EKONOMIJE | OSIGURANJE | PARAPSIHOLOGIJA | PEDAGOGIJA | POLITIČKE NAUKE | POLJOPRIVREDA | POSLOVNA EKONOMIJA | POSLOVNA ETIKA | PRAVO | PRAVO EVROPSKE UNIJE | PREDUZETNIŠTVO | PRIVREDNI SISTEMI | PROIZVODNI I USLUŽNI MENADŽMENT | PROGRAMIRANJE | PSIHOLOGIJA | PSIHIJATRIJA / PSIHOPATOLOGIJA | RAČUNOVODSTVO | RELIGIJA | SOCIOLOGIJA |  SPOLJNOTRGOVINSKO I DEVIZNO POSLOVANJE | SPORT - MENADŽMENT U SPORTU | STATISTIKA | TEHNOLOŠKI SISTEMI | TURIZMOLOGIJA | UPRAVLJANJE KVALITETOM | UPRAVLJANJE PROMENAMA | VETERINA | ŽURNALISTIKA - NOVINARSTVO

Seminarski i Diplomski Rad

  preuzmi seminarski rad u wordu » » »

Besplatni Seminarski Radovi